GAC...S系列

GAC105S

产品型号:GAC…S 25~200

滑动磨擦副:钢/钢

产品特点:内、外圈材料均为轴承钢,淬火,磷化,外圈有润滑油槽油孔,内球面有两条交叉润滑槽,滑动表面涂敷二硫化钼。

使用温度范围:-50℃~+150℃


  • GAC...S系列
  • GAC...S系列

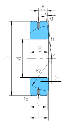
尺寸和参数

轴承型号 :GAC105S
外形尺寸 mm
d: :105
D  :160
B :35
c :32.5
T :35
dk :148
S :12.3
A :17.5
rs,r1s max :2
α˚ ≈ :2
额定载荷 kN
动载荷 :423
静载荷 :2116
重量≈kg :2.93